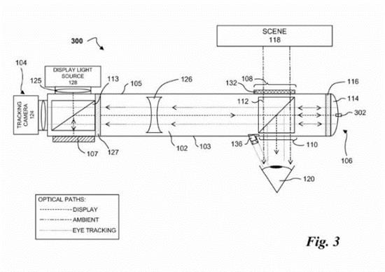
据谷歌介绍,谷歌眼镜被召回并非弃用,而是改进功能与设计,重新再出发,所以关于谷歌眼镜的消息仍然在我们周围。据外媒介绍称,负责谷歌眼镜再开发的功能日前拿到了一个关于眼球追踪功能的专利,这让人不仅想象,是不是该项专利设计能够应用在谷歌眼镜上。
谷歌眼镜是一款能够智能处理信息的穿戴设备,加入眼球追踪功能,必然会使得谷歌眼镜更智能,更实用。据介绍,眼球追踪功能能实现定位、追踪、推送信息等功能。但是否加入该技术,怎么加入,我们只能交给研发者了。
国外对于专利的重视程度很高,即使不是为了谷歌眼镜,该专利也能应用在其他智能产品上。但相信大家更期待一个全新的谷歌眼镜。
未经允许不得转载:物联网的那些事 - Totiot » 功能上的改进 谷歌眼镜或加入眼球追踪

微信关注,了解更多 

