北京时间6月19日上午消息,亚马逊可能正在开发一款真正实用的智能眼镜。该公司提交的一项最新专利可能将杰夫·贝佐斯(Jeff Bezos)手下的大批仓库员工变成半机械人,使之具备快速识别商品的能力。
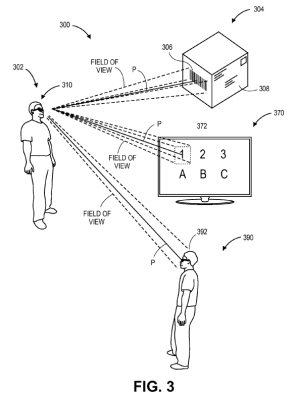
这些眼镜配备了可穿戴电脑,可以识别商品所处的位置,而且内置有图形传感器,能够识别与某项任务相关的物品。这种传感器还有可能识别邮寄地址、条形码或二维码等包裹标记。
这些眼镜的好处在于,它们可以在镜片上显示具体的文本信息,让员工不必手持任何设备即可进行信息确认。
当眼镜上的传感器识别出目标物体后,便可向穿戴者下达指令,告知其应该采取何种措施。或者,这款设备还可以展示更多与该设备有关的信息,包括配送目的地或配送方式。
亚马逊的技术再次表明,智能眼镜在工业或企业领域的应用前景更为广泛,消费市场的用途相对较少。(
未经允许不得转载:物联网的那些事 - Totiot » 亚马逊也要做智能眼镜 但你很可能买不到

微信关注,了解更多 

