新文件显示谷歌眼镜2看起来像头带,不像眼镜。这份专利文件于本周提交到美国专利商标局。在专利申请文件中,我们可以看到谷歌的Glass智能可穿戴设备。这次的设计利用了用户的头部形状,而不是鼻子。新版本不需要你把设备放于脸的正前方——只有显示器。
这一系统保留了很多谷歌眼镜原来的东西,主要用于“接收、传递和显示数据”。其不同之处在于用户将会用头部的一边让设备保持平衡。
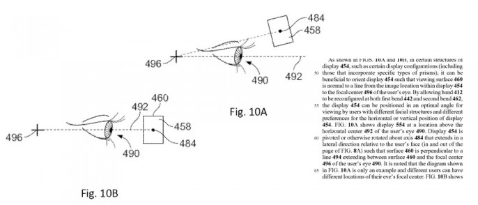
设备由显示器、头带和“图象生成方法”组成。根据专利文件,头带是“戴在用户头上的,只绕过用户的一只耳朵,显示器固定在头带一端,从显示器延展过去是一自由端,头带包括内部构件和外部构件。”
“整体形状可根据用户的头部形状从一个形状变成另一个形状。”
设备外部是热塑性弹性体,内部有电枢线。
我们希望用户知道每次佩戴设备时,如何把显示屏正确地放在眼睛之上。
在专利图上,谷歌眼镜看起来就像条虫,一条爬在你头边上的虫,为了最佳舒适度。
未经允许不得转载:物联网的那些事 - Totiot » 专利显示谷歌眼镜2造型奇特

微信关注,了解更多 



