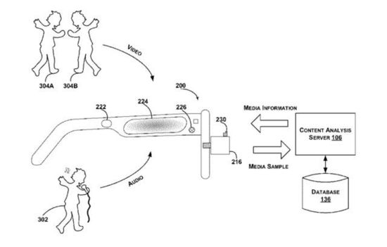
尽管Google Glass已全面停售,但官方已宣布其将重回消费者的视野。日前,有关下代Google Glass的专利技术得到曝光,根据专利图来看,这是一项可以指导用户学跳舞的多媒体系统。
专利文件描述称:“确定舞步的方法要基于音乐和(或者)其它共舞者的风格”,这意味着该技术很可能是为头戴式显示器(HMD)加装“内容识别模块”,用于获取音乐及共舞者等相关信息,并在显示器中提供舞蹈教程。
Google Glass
这一项目的研发将为美国的大学生用户带来福音:当他们参加交友舞会或毕业舞会时再也不用觉得尴尬了。
编辑点评:随着可穿戴设备的不断完善,具有指导性意义的技术及产品前景十分广阔。记得在去年,美国医学教授也曾用谷歌眼镜和GoPro运动相机为学生们录制了第一视角的解剖手术教程,而这也很可能是谷歌此项专利灵感的来源。
未经允许不得转载:物联网的那些事 - Totiot » 下代谷歌眼镜添新功能:指导用户学跳舞

微信关注,了解更多 

