来源|贝多财经
撰稿|多客
3月15日,央视“3·15晚会”如期播出。其中,啄木鸟维修国际有限公司(Woodpecker International INC,下称“啄木鸟家庭维修”“啄木鸟维修”或“啄木鸟”)因维修乱象被点名,还被称是“维修刺客”。
根据报道,啄木鸟家庭维修培训经理陈经理称,“当我们到客户家遇到不会拆、不会修、有问题的情况,第一件事就是稳住心态,心理素质要好。讲实话,客户也不会想到这个工程师刚学三天。”
啄木鸟家庭维修黄师傅还向其他维修师傅请教如何顺利完成这单工作的好办法。其中,一单收了客户659元维修费,换下来的电机卖废品卖了60元,而成本只有购买塑料电机的91元。这一单,黄师傅给啄木鸟平台完成的收入是628元。

黄师傅告诉记者,最核心的问题,还是来自家电维修平台施加的压力。维修人员经常会因为报价过低受到公司上级的批评,公司会要求维修人员在服务过程中尽可能提高收费。并称,“批评只是管理手段的一个方面,真正抬高维修收费标准的,是利润的分配规则”。

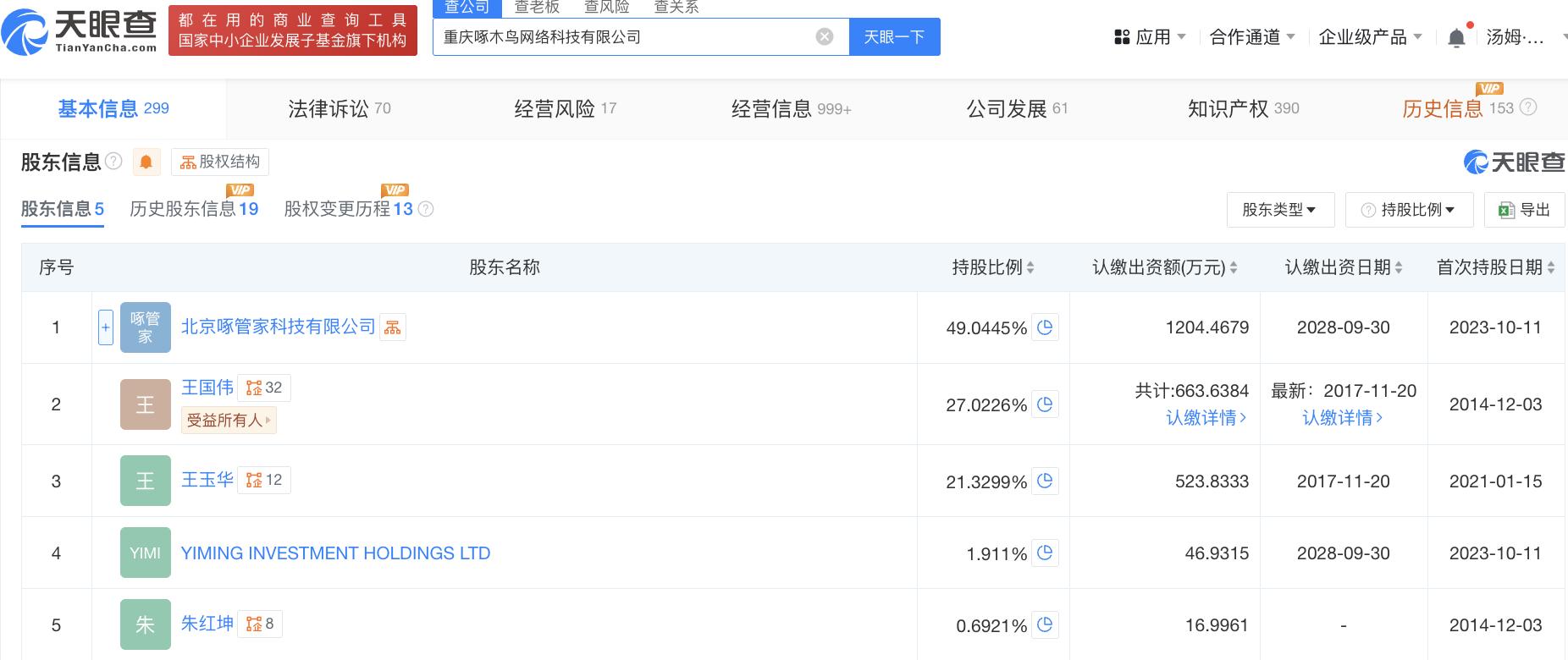
天眼查App信息显示,啄木鸟的主要经营主体为重庆啄木鸟网络科技有限公司,成立于2014年12月。目前,该公司的注册资本为人民币2408.9358万元,法定代表人为王国伟,主要股东包括北京啄管家科技有限公司等。

据贝多财经了解,啄木鸟家庭维修还在冲刺港交所上市。2024年1月、2024年9月,该公司先后两次递交招股书,准备在港交所主板上市。截至目前,啄木鸟家庭维修的审核状态仍是“处理中”。

据招股书介绍,啄木鸟上提供的服务覆盖逾300个主要家电和家居设施类别,包括家电维修、家电清洗、家电安装、水电维修、管道疏通、开锁换锁、防水补漏、牆面翻新、厨卫改造、瓷砖地板维修、门窗维保、维修维修以及电子产品(如手机及笔记本电脑)维修等。
根据灼识咨询资料,中国家庭维修市场按总交易额计算的2023年规模为7149亿元,2018年至2023年的复合年增长率为7.6%;预计将在2027年达到9318亿元,2023年至2027年的复合年增长率为6.8%。
事实上,啄木鸟家庭维修正是这个领域的核心玩家。招股书援引灼识咨询资料称,啄木鸟已成为中国最大的家庭维修平台,按2023年的总交易额计,啄木鸟占中国在线家庭维修行业2.4%的市场份额。
招股书显示,啄木鸟的总交易额由2021年的9.86亿元增至2022年的14.62亿元,并进一步增至2023年的24.79亿元,三年内的复合年增长率为58.5%。2024年上半年,该公司平台总交易额亦实现增长,达到15.67亿元。
2021年、2022年、2023年度和2024年上半年,啄木鸟分别实现收入4.01亿元、5.95亿元、10.11亿元和6.23亿元,净利润分别为3343.1万元、620.4万元、4887.0万元和3888.1万元。


在非国际财务报告准则下,啄木鸟2021年至2023年的经调整净利润分别为2362.9万元、4284.6万元和1.45亿元,整体呈现上升趋势。不过,该公司2024年上半年的经调整净利润为7288.1万元,仍较2023年同期下滑2.9%。

啄木鸟在招股书中称,2022年利润的下滑主要是由于重庆啄木鸟具有优先权的实缴资本的公允价值变动产生亏损;而2024年上半年则是因平台上服务订单提升,销售及营销费用大幅增加,从而压缩了利润空间。
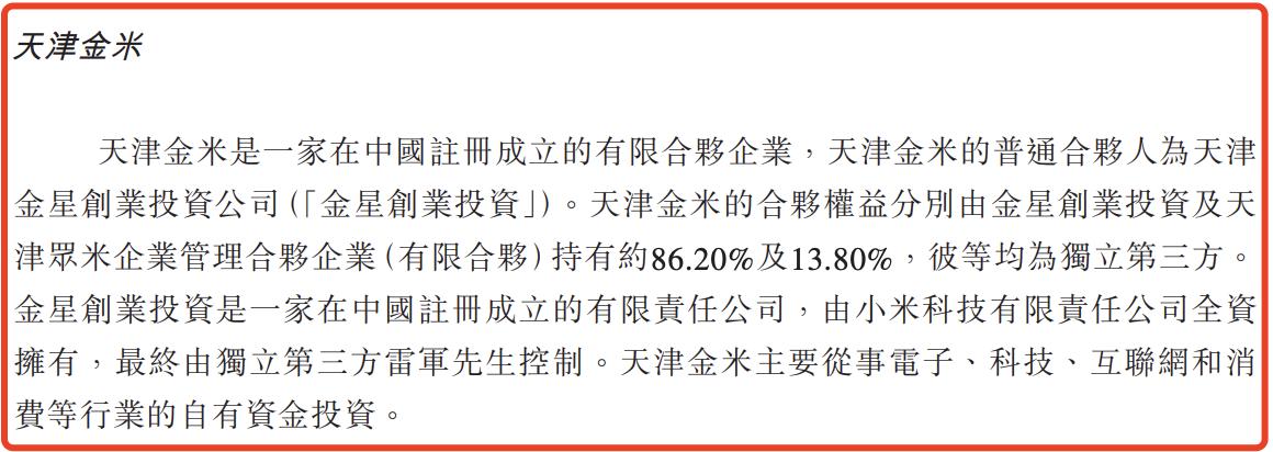
成立至今,啄木鸟获得了多轮融资,投资方包括58同城、小米、顺为资本等。其中,顺为资本(通过苏州顺为)、小米(通过天津金米)均于2017年11月分别斥资416.6万元参与了啄木鸟的A轮融资。
据了解,58同城于2020年12月通过湖南五八阡陌、五八有限公司分别出资5000万元,合计1亿元参与了啄木鸟的B轮融资。2021年8月,58同城再次通过五八有限公司加码7000万元参与了啄木鸟的B+轮融资。



2024年1月,啄木鸟再度获得约2亿元C轮融资,投资方包括天津申好、德韬大家居、德韬汇泰、无锡君枫、淮安奕铭深圳辰安、JPND、Astrend、Trend等。其中,Astrend的背后为顺为资本。
在本次上市前的股权架构中,啄木鸟家庭维修创始人王国伟和其妹王玉华,以及二人控制的信托实体、公司股权激励平台结成一致行动人,合计控制该公司54.36%的权益,为该公司的控股股东。

同时,姚劲波控制的58同城通过Dream Landing Holdings Limited、天津五八阡陌分别持股11.68%、4.45%,合计16.13%,为啄木鸟的最大外部股东。同时,顺为资本通过Astrend、苏州顺为分别持股6.17%、1.75%,小米通过天津金米持股1.75%。

此外,啄木鸟非执行董事肖庆平的新三板挂牌公司掌上通(NQ:430093)持股7.62%,重庆两江投资基金、湖南财信基金、A股上市公司金牌橱柜(SH:603180)等也是啄木鸟的直接或间接股东。
其中,王国伟为啄木鸟家庭维修的执行董事、董事会主席(即董事长)兼首席执行官(CEO),朱红坤为该公司执行董事兼总裁。
未经允许不得转载:物联网的那些事 - Totiot » 啄木鸟维修乱象遭315晚会曝光,背后站着小米雷军、58同城姚劲波

微信关注,获取更多 





