雷达财经出品 文|孟帅 编|深海
“刘强东退位3个月后,29岁章泽天突然官宣喜讯,被出轨4年,她终于不忍了!”、“马伊琍居然二婚了,她的选择惊了所有人!但她觉得值得!原因竟是这样…”、“李亚鹏:骨灰已经撒进大海,王菲依然很冷漠…”
就在美团单车、哈啰单车等共享单车品牌研究涨价的同时,曾经的共享单车龙头ofo小黄车,如今已沦落至通过发八卦文章赚流量卖课的地步。
雷达财经注意到,目前苹果、安卓应用商店已无法搜索到ofo小黄车的官方App, 不过其官网仍可正常访问。
截至目前,仍有超过千万的用户没能拿到ofo小黄车的押金。有网友反映,自己排队领ofo小黄车押金的顺序在一年多的时间里停滞不前,此前甚至还后退了2000多名。
事实上,为了应对数以千万的“债主”,ofo小黄车“花招百出”。ofo小黄车先是与网贷平台合作,之后又上线折扣商城,此后还陆续推出ofo返钱、拉好友退押金等活动。但这些活动不仅没能解决实质性的押金退还问题,还遭到用户的诸多质疑。
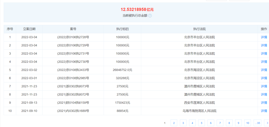
天眼查资料显示,ofo运营主体公司东峡大通的被执行总金额达633.52万元,而其被列为历史被执行人的执行总金额超过12亿元。。

ofo公众号发擦边推文
近日,有网友发现,拖欠超千万用户押金的ofo小黄车并未销声匿迹,官方公众号仍在不定期对外推送文章。
翻看近期该公众号推送的标题可以发现,这些文章并非ofo小黄车要给用户退押金的喜讯,也不是ofo小黄车起死回生、寻到自救良方的通稿,而是一些八卦标题党文章。
然而,这些擦边的文章却为ofo小黄车的公众号换来了多篇破10万+的可观流量。随后,#ofo公众号发擦边推文#的话题登上热搜,截至发稿,该话题累计阅读量破8900万,讨论次数破2000,而这些讨论中不乏网友讨要押金的评论。
不过,雷达财经注意到,ofo小黄车官方公众号此前推送的多篇文章目前已无法正常打开,页面显示“此内容因违规无法查看”或“此内容已被发布者删除”。目前,ofo小黄车官方公众号历史推送的还可以正常查看的文章,更新时间停留在了去年的8月26日,而这些文章仍多为八卦标题党,且文章内多处穿插有卖课的广告。
沦落到发擦边推文,ofo小黄车凉透了吗?雷达财经在ofo小黄车小程序登陆账号后,主页展示有“我的钱包”及“免押金”的字样,下方仍设有扫码用车的入口。当雷达财经试图修改自己的认证资料时,界面弹出“请前往ofo共享单车App修改相关信息”的提示。
随后,雷达财经就下载ofo小黄车的App进行了尝试。当雷达财经在苹果及安卓的应用商店搜索ofo小黄车时,已搜索不到相关的App;从ofo小黄车订阅号的下载App入口进入时,页面也显示无效网关信息。
不过,ofo小黄车的官网目前仍可正常访问。官网展示的信息显示,ofo小黄车平台拥有2亿多实名认证的真实用户,版图布局覆盖250多个海内外的城市。ofo小黄车官网页面的最下方,至今仍标有“诚信龙头单位”的标识。
值得一提的是,在ofo小黄车官网的商业合作栏目中,可以看到其品牌推广的服务,该服务提到ofo小黄车可以提供标准化品牌资源+定制化的创意营销,并以其与小黄人的联动合作作为示范;ofo小黄车还在官网展示了其基于人群 x LBS的精准投放的服务,通过内容原生、奖励金、优惠券等多种形式,为合作方精准曝光、引流到店,并打出“1000元起投”的宣传语;此外,ofo还设有企业年卡的专属定制服务。
退押金之路漫漫,超千万人仍在排队
此次因公众号发擦边推文登上热搜,有网友认为,ofo小黄车是想借此获取流量达到卖课赚钱的目的。
事实上,ofo小黄车曾被资本看好,其累计获得过的融资多达11轮,其中C轮、D轮、E轮、E+轮、E++轮的融资就分别高达1.3亿美元、4.5亿美元、超7亿美元、8.66亿美元及数亿美元,而ofo小黄车背后的投资阵容更是众星云集,阿里巴巴、蚂蚁集团、滴滴出行、小米集团、真格基金等明星投资机构都位列其中。
然而,如此豪华的投资背景和庞大的融资金额,也没能支撑起ofo小黄车的共享单车生意。2018年9月,ofo小黄车因拖欠货款被供应商凤凰自行车起诉,自此ofo小黄车建立起的共享单车帝国开始坍塌。
从被资本热捧的明星创业项目到万人唾弃、人人喊打的老赖公司,ofo小黄车从天堂坠落至地狱,而这背后无法给用户退还的押金成了其被声讨的重要原因之一。
被供应商起诉后,ofo小黄车押金退还周期的变长,进一步给外界释放了其资金链断裂的信号。彼时,有网友反馈,ofo小黄车退押金的周期不断延长,退款周期由最早的1至3个工作日延长至1至10个工作日,后续又从1至10个工作日延长至1至15个工作日。
此后,ofo小黄车无法退还押金的事件愈演愈烈。据媒体报道,截至2020年10月,有多达1659万余人在排队等待ofo小黄车退还押金的路上。而早在2017年,ofo小黄车的创始人戴威在接受采访时曾表示,押金并不是ofo小黄车的主要收入来源,ofo小黄车的押金从未动过。
时至今日,ofo小黄车欠下的押金烂摊子仍旧没有收拾干净。据了解,ofo小黄车的押金为99元或199元。若仅以1000万人和最低99元的押金计算,ofo小黄车待偿的押金合计约10亿元。
黑猫投诉平台显示,截至发稿,与ofo小黄车相关的投诉累计已多达57615起,其中近30天内新增的投诉达99起,但“已回复”和“已完成”的投诉为0。雷达财经注意到,这些投诉中仍有大量网友在向ofo小黄车追讨自己的押金。
多位网友表示,从当初申请退ofo小黄车押金到现在已经过去四年的时间,但至今都没有收到运营方退来的一分钱押金。网友还称,自己曾尝试拨打ofo小黄车的客服电话但无人接听,而联系在线客服也是无人搭理。
其中一名网友表示,自己会定期记录自己退押金的排队情况。根据该网友记录的ofo小黄车押金退还排队情况显示,去年6月23日到今年8月22日长达一年多的时间里,这名网友的排号丝毫没有变化,仍停留在11435321位。更让他气愤的是,仔细对比后发现,自己去年6月23日的排号顺序,甚至比去年3月14日的数字还后退了2470多名。

值得一提的是,与ofo小黄车同为共享单车运营商的美团单车,近日在给用户清退摩拜单车押金时,还特意提到了昔日的竞争对手,“ofo小黄车并非美团所属业务,无法通过此渠道退还押金哦”。
曾爆出诱导用户消费
事实上,为了应对超过千万没有拿到押金的用户,ofo小黄车也是想尽各种办法。
2018年9月,ofo小黄车被爆出诱导用户消费。彼时,有多名网友反映,自己在使用ofo小黄车App时,原本打算进行充值或退还押金的操作,但在没有注意的情况下,页面诱导其升级为了年卡会员。因为参与的是年卡会员免押的活动,后续再退押金时变得困难重重。彼时,还有记者实测ofo小黄车的退押金操作,记者称小黄车为了“挽留”用户,弹出多达7次的提示。
对此,ofo小黄车的工作人员回应称,前述用户提到的年卡活动,用户可以自主选择是否参加,并不存在误导消费的情况。在实际支付前,用户也有多次机会退出。工作人员还表示,ofo小黄车一直确保用户押金可退。
此后,ofo小黄车资金链断裂的事实彻底被揭开,ofo小黄车押金可退的承诺变得一文不值。然而,面对数量庞大的追讨押金的队伍,ofo小黄车开始动起了“花心思”。
2018年11月,ofo小黄车与网贷平台PPmoney合作,99元押金用户可以升级为PPmoney的新用户,将押金转为该平台上的100元特定资产,锁定期为30天,期满后用户可申请退出,并在退出成功后获取相应本息。最终,该活动因被质疑有贱卖用户个人信息之嫌很快便下线。
次年3月,ofo小黄车上线折扣商城功能,用户可以将自己充值的押金兑换为金币在商城消费,但押金兑换成金币后将不可撤销。这意味着,用户一旦选择将押金兑换为金币,便放弃了追讨押金的权力,ofo小黄车不再有兑换用户押金的义务。
几个月后,ofo小黄车又推出返钱活动,引导用户通过消费获取押金返现,这导致ofo小黄车再次引发用户质疑。据该活动页面介绍,在ofo返钱上购买淘宝、京东商品,不仅可以退押金还能赚钱。但据媒体报道,用户想要通过该活动拿回自己的押金并不容易,需要消费上千元。
去年11月,ofo小黄车再出“骚招”,推出拉好友退押金活动。宣传页面中,ofo小黄车堂而皇之地打出“好友越多,退押越快,不封顶”的口号,此举被网友评价让用户“坑完自己坑朋友”。此外,ofo小黄车还同时推出好友下单奖励、充值10元立即退押2.5元等奖励任务。
雷达财经注意到,ofo小黄车绞尽脑汁想出的退押金花样,不仅没能有效解决用户退押金的需求,还给其招来了一次又一次的骂声。与此同时,没法给用户押金交代的ofo小黄车,主体运营公司眼下已负债累累。
天眼查显示,8月10日,东峡大通(北京)管理咨询有限公司(下称“东峡大通”)新增一则被执行信息,执行标的13.24万元,执行法院为广州市中级人民法院。目前,东峡大通的被执行总金额达633.52万元,而其被列为历史被执行人的执行总金额超过12亿元。
另据中国裁判文书网2019年披露的执行裁定书显示,东峡大通“名下无房产及土地使用权、无对外投资、无车辆,虽开设了银行账户,但已被其他法院冻结或账户无余额。”
原文标题:ofo被曝“标题党”卖课赚钱,仍有上千万人排队等退押金
未经允许不得转载:物联网的那些事 - Totiot » ofo被曝“标题党”卖课赚钱,仍有上千万人排队等退押金

微信关注,获取更多 





