
在我国汽车产业“换道超车”的大潮中,商用车领域是一条相对隐蔽的路线。对比乘用车的高歌猛进,商用车电动化仍然方兴未艾。
以重卡为例,重型卡车是商用车中的重要类型,当前,我国干线物流市场规模已达万亿级别。但是,由于市场新增需求相对较小、进入壁垒高,玩家基本是传统品牌,内燃机重卡仍然占据市场主导地位。
尽管如此,新能源重卡也正在迎来商业化爆发期。2024年以来,苇渡科技、零一汽车、速豹科技等“重卡新势力”品牌新品扎堆上市,新能源重卡加速“驶入”市场。
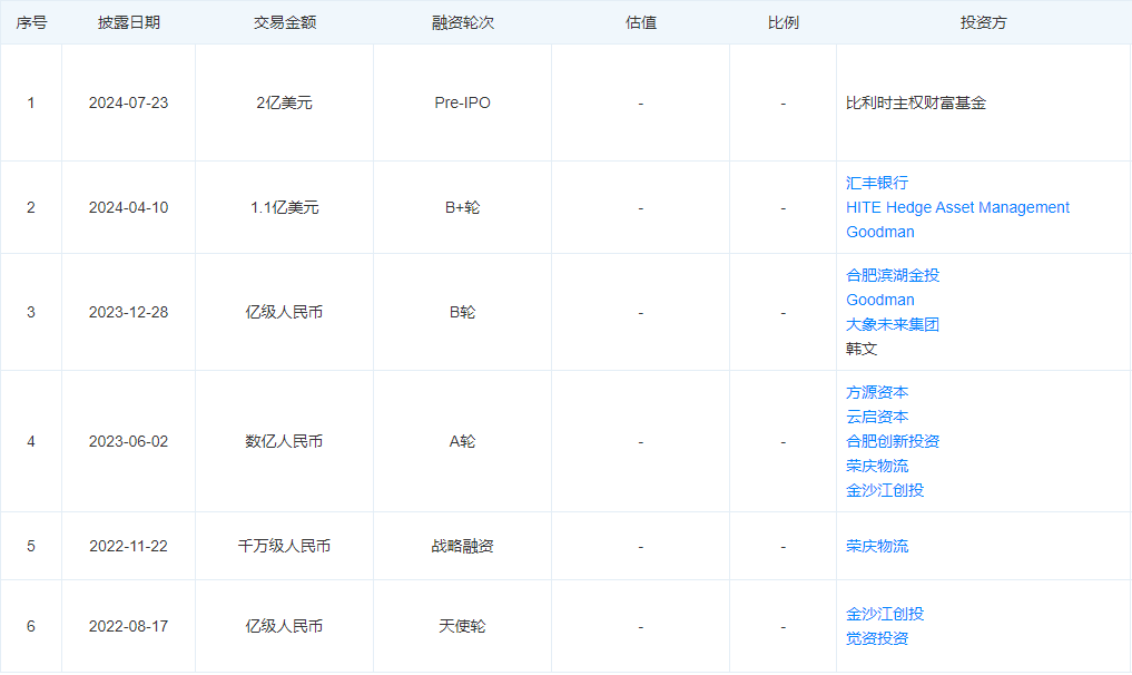
其中,苇渡科技近期更是动作频频。继4月发布首款纯电动重卡、首款氢燃料重卡后,苇渡科技最近先是获得了比利时联邦控股和投资公司领投的2亿美元Pre-IPO轮新融资,随后又宣布高盛集团投行部前汽车科技行业主管Fausto Monacelli正式加入公司全球顾问委员会。
种种迹象表明,这家“重卡新势力”正在加速全球商业化并冲刺美股IPO。问题是,苇渡科技成立不过两年多时间,公司首款产品也才刚刚推出,为何如此急于上市?
新能源重卡江湖“水温”99℃,新势力崛起于夹缝之间
作为一家新能源重卡初创公司,苇渡科技成立于2022年。就在短短两年时间内,这家公司已进行6轮融资。相关机构测算,目前苇渡科技估值已达到10亿美元。相比之下,成立时间仅比苇渡科技晚3个月的零一汽车,前不久才完成A1轮融资。

图源:天眼查
苇渡科技特殊的资本号召力,或许与创始人的经历有关。根据公开资料,苇渡科技创始人韩文2013年至2016年曾在桥水基金工作;后来,韩文加入金沙江创投硅谷办公室担任合伙人,主导了对新能源重卡智加科技的投资,并随后加入智加科技担任CSO(首席问题官)&CFO。
离开智加科技后,韩文以投资人身份下场“造车”,其履历在整个商用车行业都是罕见的,作为创始人的创投资源更是促成了苇渡科技的高频融资。而韩文选择新能源重卡这条创业赛道,显然是看中了重卡市场较低的电动化程度,想在汽车电动化浪潮的机遇中分一杯羹。
据高工产业研究院(GGII)发布的统计显示,2024年上半年新能源重卡实现销量2.8万台,市场渗透率为12.29%。而国盛证券认为,在政策端持续鼓励下,电动重卡中高渗透潜力应用市场占整体市场的37%,新能源重卡销量有望进一步提升。

图源:国盛证券
在资本眼里,低渗透率和高潜力应用市场的存在意味着较高的市场增速,因而看好新能源重卡赛道的投资者不在少数。比如,汇丰银行科创金融部总经理梁宇表示:“近期,乘用车领域已经迎来了电气化的新浪潮。这一变革趋势预计将进一步扩展至商用车领域,特别是重型卡车的电动化,正迅猛攀升。”
因此,这条赛道“忽如一夜春风来”,除了苇渡科技,吉利旗下的远程、零一、DeepWay、载合以及速豹等重卡新玩家纷纷收获大额融资,新能源重卡企业就像当初的“造车新势力”一样掀起资本狂潮。
新能源车和自动驾驶概念是市场热点题材,此时申请上市有望收获高估值和吸引更多投资者关注,苇渡科技赴美IPO的意愿自然大大增加。
不过,与滚烫的资本市场相反的是,新势力们注定艰难的前进道路。
国内重卡市场实际上是一个由传统企业主导的存量市场。对此,国盛证券表示,随着中国重卡总保有量的提升,国内重卡需求由过往新增需求主导逐渐转变为存量替换需求主导。
国内头部重卡厂商既有大型汽车集团,也有大型工程机械企业,其强大的售前渠道与售后维修网络构成了竞争壁垒。根据第一商用车网最新数据,今年以来我国重卡市场CR5达88.8%,行业呈头部集中化发展趋势。

图源:第一商用车网
在新能源重卡方面,经过数年研发与路测的探索,传统车企转型思路也日渐清晰,更大规模商业化一触即发。此外,近年来,三一重卡、徐工重卡、宇通集团、远程汽车、比亚迪等一众背靠大企业、资源丰富的玩家也涌入赛道。
越来越多头部企业躬身入局,预示着这条赛道也将内卷加剧。乘用车电动化的下半场,都有不少第一、第二梯队的品牌逐渐掉队,何况市场规模更小的新能源重卡赛道?从资本角度来看,短时间内可能等不到企业盈利或形成更大规模,上市成为获利离场的最佳选择。
那么,苇渡科技还有机会突围吗?
奔向卡车红海市场,新能源重卡难撞破巨头们的“坚墙”
在头部效应显著的市场中,重卡初创公司想要“做大做强”绝非易事。
因此,为了与国内车企们形成差异化竞争,苇渡科技选择了一条区别于国内大部分重卡企业的商业化道路:除了国内市场,苇渡科技主要瞄准欧美市场。
韩文在接受媒体采访时提到,该公司计划在美国建立一家半挂卡车厂,预计2025年在美国市场交付,同时计划明年在比利时建立一家装配厂。
与此同时,从苇渡科技视频号内容来看,该公司也积极开展在欧美地区的长距离路测。5月,苇渡科技纯电重卡完成单程3,100公里横跨欧洲路测;6月,苇渡科技成功在美国完成单程2,800英里(4,500公里)横跨东西岸路测。

图源:苇渡科技Windrose视频号
毫无疑问,苇渡科技选择了一条独特的出海路线。根据交银国际证券的研报,国内卡车出口重点以“一带一路”国家为主,欧美发达国家销量相对较低。

图源:交银国际证券
那么,苇渡科技的“特立独行”能否打造一家“中美欧三地的头部卡车品牌”,成为国内重卡行业的“黑马”呢?
只怕不易。
国内大部分企业优先布局独联体/非洲/东南亚,抢占的是蓝海市场,避开的是红海市场。
欧美市场与国内市场格局类似。对此,东吴证券研报分析得很清楚:
· 在欧洲市场,2009年至今欧洲市场格局稳固,7大欧系品牌始终占据90%以上市场份额,海外品牌突破困难;
· 在北美市场,戴姆勒/帕卡/沃尔沃/纳威司达四大欧美系品牌垄断市场,2023年戴姆勒/帕卡/沃尔沃/纳威司达市占率分别39.7%/29.6%/16.9%/13.7%,合计占据近100%市场。长周期来看没有明显增长趋势,中国品牌突破北美市场难度大。

图源:东吴证券
值得一提的是,欧美重卡市场不仅像国内一样具备显著头部效应,也有不少本土企业在积极发展新能源重卡。比如,戴姆勒卡车正在专注于纯电动和氢动力驱动,推动可持续交通的发展。该公司的目标是到2039年,将在其全球核心市场(欧盟30国、美国、日本),只提供在驾驶过程中能实现碳中和的新车。
企业的成长是需要市场空间的。在如此竞争激烈的成熟市场中,新能源重卡初创企业成长环境堪忧。去年10月,瑞典电动卡车初创公司Volta Trucks就宣布将申请破产,此前该公司已经在欧洲的5个国家进行了试点,受到了欢迎。但是,随着沃尔沃和戴姆勒等大型卡车制造商入局新能源卡车赛道,Volta陷入艰难处境。
相比Volta,如今的苇渡科技不仅面临欧美本土企业的竞争,还要与国内一众“内卷高手”展开竞争。而从天眼查计算的公司“科创分”来看,想要“杀出重围”,苇渡科技的竞争力显然还有待提高。

图源:天眼查
结语
新能源汽车是未来汽车行业的发展方向,这毋庸置疑。
对于公司的未来前景,苇渡科技创始人、董事长兼CEO韩文曾说过:“我希望这家公司,能够四两拨千斤在重卡市场杀出一条血路。其实,iPhone出现之前,手机市场是被诺基亚和摩托罗拉垄断的。所以在中美欧卡车领域,我相信后来者居上,而苇渡科技极有可能成为中美欧三地的头部卡车品牌。”
但是,不得不考虑的是,重卡与手机、乘用车是两种不同的市场模式,智能手机、新能源乘用车的故事很难在新能源重卡赛道重演。
重卡行业面向的客户更多是B端用户,尤其是转换成本高的大B端客户,而B端市场更注重商业间的合作,即以企业为主体的交易关系和长期合作。复盘过去十年国内外重卡格局演变,头部厂商份额一直保持相对稳定。
在当前的市场格局中,苇渡科技的“iPhone时刻”远未到来。
来源:美股研究社
未经允许不得转载:物联网的那些事 - Totiot » “重卡新势力”苇渡科技,难演“造车新势力”剧本

微信关注,获取更多 





