福特申请车内广告系统专利,利用用户数据投放个性化广告

开车,也要看坐电梯一样被迫看广告了?
9月3日,福特汽车公司提交了一项关于车内广告系统的专利申请。
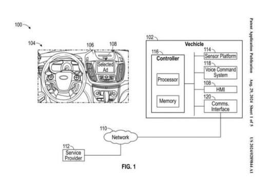
据美专利商标局(USPTO)文件显示,福特在今年 2 月提交了这项专利申请,该申请于 8 月 29 日公布。在第三次申请中,福特详细介绍了如何利用车辆目的地、路线、速度和用户偏好等数据,直接在车内显示屏上投放个性化广告。
福特在申请文件中表示,该系统可以根据车辆目的地预测提供更相关的广告,例如,如果用户要去超市购物,系统就会投放相关的商品广告。
在技术层面,这一广告系统将涉及自然语言处理(NLP)和计算机视觉等多种人工智能技术。通过对车主个人偏好的分析,AI能够实现精准的广告投放,从而提升广告的点击率和转化率。根据文件描述,该系统通过控制器收集来自车内传感器和外部来源的数据,根据驾驶条件和用户偏好来调整广告的类型和数量,以保持广告的相关性并避免干扰。
此外,该系统还可能通过区域定位技术,针对不同地理位置的用户展现不同的广告,进一步个性化用户体验。这种基于数据驱动的广告模式,可能改变传统广告领域的生态。
注意到,这已经是福特近年来申请的第三个车内广告系统专利,福特此前还曾申请了一项使用车载摄像头读取广告牌并安全地将部分广告内容显示在车窗上的系统。
不过,如何在保障广告相关性的同时,又确保不对车主造成过多的干扰,这将是福特在推进这一项目时需要解决的重要问题。因此,在推进车内广告投放系统时,车企需要充分考虑车主的权益和体验,制定合理的广告投放策略和管理机制。
未经允许不得转载:物联网的那些事 - Totiot » 福特提交车内广告投放系统专利申请,买车开车被投放广告,你愿意吗?

微信关注,获取更多 





